cybermad
Clan Leader
- Modelo
- Z3 2.8 / GR86
- Registrado
- 11 Feb 2008
- Mensajes
- 108.142
- Reacciones
- 94.936
En el 150.º cumpleaños de Ferdinand Porsche, recordamos uno de sus inventos menos conocidos
En la década de 1930, Porsche patentó un sistema de control de tracción décadas adelantado a su tiempo.
3 septiembre 2025

Se nota que Ferdinand Porsche estaba preocupado por la tracción en la década de 1930. El partido nazi gobernante quería demostrar el poder técnico de Alemania en las carreras de Gran Premio, por lo que envió carretillas llenas de dinero a Mercedes y Auto Union, esta última construyó una serie de automóviles con diseño de Porsche.
Los Tipos A, B y C tenían una potencia sin precedentes, gracias a un V-16 sobrealimentado montado detrás del conductor. Llamado P-Wagen en honor al legendario Porsche, el primero de la serie, el Tipo A de 1933 alcanzaba los 295 caballos de fuerza; un año después, el Tipo B de 1934 alcanzaba los 375 hp; y el Tipo C de 1935 alcanzaba la asombrosa cifra de 520.
Durante décadas, los motores de competición superaron a los chasis y neumáticos de la época, y quizás esto nunca fue tan cierto como con los Auto Union. En su libro The 16-cylinder GP Auto Union , Cyril Posthumous describe cómo los pilotos experimentaban patinaje de las ruedas en estos coches a más de 160 km/h. O a 257 km/h en mojado. La mente da vueltas.
Huelga decir que la tracción era un problema. Como buen ingeniero, Porsche se propuso solucionarlo.

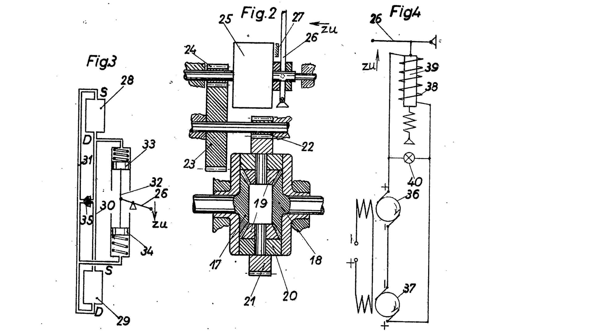
De hecho, Porsche patentó una forma temprana de diferencial de deslizamiento limitado en 1933 , y trabajando con el proveedor ZF (famoso hoy por sus transmisiones automáticas de ocho velocidades), el dúo fabricó una unidad que debutó en el Tipo C de 1935. Auto Union también usó una versión para subir colinas del Tipo C con ruedas traseras dobles porque, en ese momento, nadie fabricaba neumáticos lo suficientemente anchos para soportar el empuje del V-16.
El LSD demostró ser eficaz y se volvió mucho más común después de la guerra. Pero había algo más que Porsche estaba investigando en la década de 1930 que era tan adelantado a su tiempo que resulta casi increíble: el control de tracción.
Porsche solicitó una patente alemana, DE 695718C , en 1937 para un sistema de control de tracción y la recibió en 1940. No es evidente de inmediato cuándo el control de tracción se convirtió finalmente en una realidad para los vehículos de carretera, aunque Buick pudo haber sido el primero, con un sistema llamado Max-Trac en 1971. Así que Porsche se adelantó unos 35 años.
Conceptualmente, el sistema que Porsche describe en la patente funciona igual que un sistema de control de tracción convencional en un vehículo de dos ruedas motrices. Cuenta con un dispositivo que compara la velocidad de las ruedas motrices y no motrices, y si la primera supera a la segunda, se reduce el par motor. El Buick de 1971, y muchos otros coches posteriores, utilizan sensores de velocidad de las ruedas conectados a una computadora. Si la computadora detecta una diferencia significativa, envía una señal al motor para reducir el par. Estos datos son interpretados por una computadora.


La patente de Porsche describe tres variantes diferentes de un sistema de control de tracción: una que utiliza un mecanismo diferencial, otra hidráulica y otra eléctrica. Cada una analiza básicamente las velocidades del eje trasero motriz y del eje delantero no motriz. Si la velocidad de la rueda trasera supera la de la rueda delantera, el dispositivo de comparación acciona una serie de palancas conectadas al carburador del motor.
En esencia, se trata de un sistema de control de tracción 100 % mecánico.
Incluso el dispositivo de comparación eléctrica que describe Porsche utiliza un generador para cada eje, cuyo voltaje se crea mediante su rotación. Si los voltajes son desiguales, el dispositivo de comparación acciona una palanca y enciende una bombilla en el tablero, lo que indica al conductor que el sistema de control de tracción está activo. Es eléctrico, pero no electrónico.
Incluso hoy en día, así es básicamente como funciona el control de tracción. Ahora, hay sensores de velocidad para cada rueda que proporcionan datos. Los controles electrónicos regulan el par de salida de un motor de combustión interna, no solo mediante el accionamiento del acelerador, sino también mediante la sincronización del encendido.
Los motores de tracción eléctrica en vehículos híbridos y eléctricos también pueden controlar la salida de par en la fuente con increíble precisión. También contamos con sistemas de control de tracción que se integran con el control de estabilidad, el uso de frenos o, quizás incluso, ajustes del diferencial o la suspensión en vehículos más avanzados para garantizar la estabilidad.
Aun así, Porsche tuvo la idea correcta. En 1937.

Este invento de Porsche no es muy conocido. No se sabe con certeza si lo probó en un coche de carretera. El estallido de la Segunda Guerra Mundial puso fin a las carreras de grandes premios durante un tiempo, y los Aliados encarcelaron a Ferdinand posteriormente. Porsche jugó un papel decisivo en el desarrollo del coche popular propuesto por el régimen nazi, el KdF Wagen, que se convirtió en el Volkswagen Escarabajo, y otros vehículos militares.
Como explica un informe de la Oficina Alemana de Patentes y Marcas , “Porsche también utilizó trabajadores forzados en la fábrica de Volkswagen, incluso los solicitó activamente y era plenamente consciente de sus condiciones laborales asesinas”.
La historia (que fue donde me enteré por primera vez de esta patente de control de tracción) tampoco oculta el hecho de que los vínculos nazis de Porsche lo enriquecieron a él y a su familia, la misma familia que es dueña de VW hasta el día de hoy.

Porsche fue absuelto en 1948. Casi al mismo tiempo, su hijo Ferry fundó en Austria la empresa Porsche que conocemos hoy, creando el 356. Ferdinand murió en 1951 en Stuttgart, a los 75 años.
Hoy se conmemora el 150 aniversario de su nacimiento. El legado de Ferdinand Porsche es difícil de reconocer. Un genio indiscutible de la ingeniería y una influencia que aún se siente. Y complicidad con uno de los regímenes más monstruosos de la historia.
En su 150° cumpleaños, deberíamos reconocer la brillantez y el impacto de Ferdinand Porsche, y la realidad de quién fue y el pacto fáustico que hizo.

On Ferdinand Porsche's 150th Birthday, We Remember One of His Lesser-Known Inventions
In the 1930s, Porsche patented a traction-control system decades ahead of its time. On the 150th anniversary of his birth, we look back.
